Hardware

Szukasz informacji o kartach graficznych RTX, a może monitorach 4K? Tutaj znajdziesz najważniejsze wiadomości o zapowiedzianym sprzęcie komputerowym i zestawach gamingowych dla prawdziwych graczy.

Corsair Vengeance LPX DDR4-4866

Pierwsze na świecie fabryczne pamięci RAM DDR4 4866 MHz

0
Firma Corsair zaprezentowała pierwsze na świecie fabryczne pamięci RAM, które są taktowane zegarem aż 4866 MHz. Jak się pewnie domyślacie, nie są to konstrukcje...

Patriot obniża ceny gamingowych produktów z serii Viper Gaming

0
Z okazji zbliżającego się IEM-u, firma Patriot przygotowała specjalną promocje obniżającą ceny wybranych akcesoriów gamignowych. Promocją objęte są następujące urządzenia: Patriot Viper V760 Mechanical...
AMD Radeon

AMD wysyła wytyczne swoim sprzedawcom, jak zabezpieczyć się przed nieuczciwymi kupującymi

0
Dużymi krokami zbliża się premiera nowych kart graficznych AMD Radeon RX 6000, a procesory AMD Radeon 5000 trafią na sklepowe półki już 5 listopada....

Pierwsze karty graficzne GTX 1060 z pamięciami GDDR5X

0
Pierwsi producenci prezentują nowe karty graficzne GeForce GTX 1060 z pamięciami GDDR5X. Prawdopodobnie mają one konkurować z wciąż niezapowiedzianym Radeonem RX 590. Tylko czy kolejna wersja “sześćdziesiątki” ma...

Creative Sound Blaster GC7 – Zewnętrzna karta dźwiękowa dla wymagających

0
Firma Creative Technology wprowadza do sprzedaży w Europie całkowicie nową linię zewnętrznych kart dźwiękowych. Nowa seria będzie wyposażona w klasowe wzmacniacze premium i najnowszą...

Nvidia RTX 3070 – unboxing na chińskim portalu BiliBili

0
Chiński portal technologiczny Expreview na swoim kanale Bilibili.com (który jest odpowiednikiem Youtube na rynek Chiński) zamieścił materiał wideo, na którym prezentują unboxing trzech nowych...
AMD Radeon VII

Wpadka AMD. Firma wydała Radeona VII bez obsługi UEFI

2
Niewielka dostępność Radeona VII w dniu premiery to nie jedyna wpadka AMD. Okazuje się, że Czerwoni wydali kartę graficzną bez obsługi UEFI. Coś takiego...

Unreal Engine 5 wchodzi we wczesny dostęp dla deweloperów

0
Najpopularniejszy silnik graficzny Unreal Engine wszedł w fazę wczesnego dostępu dla deweloperów. Od dzisiaj będą oni mogli spróbować swoich sił z silnikiem Unreal Engine...

AMD obiecuje, że na rynku pojawią się większe ilości kart graficznych AMD Radeon RX...

0
Premiera najnowszych kart graficznych AMD Radeon RX 6900/6800, nie należała na do najbardziej udanych. Spowodowane to było praktycznie zerową dostępnością tych kart graficznych. Teraz AMD...
Nvidia Ampere A100 Front

Nvidia zaprezentowała pierwszy procesor graficzny Ampere

0
Nvidia zaprezentowała nową architekturę kart graficznych Ampere. Będzie to wielka zmiana i rewolucja na rynku konsumenckich układów GPU. Poniżej szczegóły. CEO Nvidii Jensen Huag podczas...

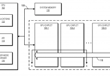
AMD poszerza swój patent na układ graficzny w formie chipletu

0
Firma AMD poszerza swój patent na komunikację poszczególnych rdzeni w ramach jednego układu - chipletu, o aktywne połączenie mostowe. Na początku tego roku AMD złożyło...

Transport elektroniki użytkowej, w tym kart graficznych utknął na transportowcu w Kanale Sueskim

0
Jeśli spodziewaliście się, że w kwietniu, może w maju dostępność kart graficznych się polepszy, to mamy dla was kiepską wiadomość. Część z kart graficznych,...
AMD Ryzen 4000

Wyciekła specyfikacja dwóch procesorów AMD Ryzen 4000 Renoir

0
Informacje na temat dwóch procesorów AMD Ryzen 4000 Renoir pojawiły się w bazie dwóch benchmarków. Tym samym poznaliśmy ich wstępną specyfikację. Pierwszy z procesorów o...

Bloody wprowadza do oferty dwie myszki i klawiaturę z technologią Light Strike

0
Klawiatura B760 oraz dwie myszki – P80 Pro oraz P30 Pro pojawiły się w ofercie firmy Bloody. Myszki to jedne z najtańszych urządzeń na...
RTX 3000 Ampere

Nvidia potwierdza 12 pinowe złącze zasilania.

0
Nvidia na swoim kanale Youtube, zamieściła ośmiominutowy film o tym, jak projektowane są ich karty graficzne. Skupiono się co prawda głównie na wydajności układu...
Zombieload

Problemy Intela z procesorami zostaną rozwiązane przez Samsunga?

0
Od jakiegoś czasu Intel nie wyrabia się z produkcją procesorów, co doprowadziło do znacznych podwyżek cen układów z serii Core. Rozwiązaniem tych problemów ma...

Intel Core i9-12900K zdobywa 30 tys. punktów w Cinebench R23

0
Użytkownik REHWK zamieścił zrzuty ekranu, które podobno prezentują wydajność procesora Intel Core i9-12900K w popularnym benchmarku Cinebench R23. Wynik, jaki uzyskał najnowszy, jeszcze niewydany procesor...
Predator Orion 7000

Predator Orion 7000 – moc w czystej postaci od Acera

0
Predator Orion 7000 to prawdziwa gamingowa maszyna, którą napędza najnowszy procesor Intel® Core™ 12. generacji i karta graficzna NVIDIA® GeForce RTX™ 3090. Podczas konferencji...

Rdzeń GA102-225 uchwycony na zdjęciu, to on jest sercem RTX 3080 Ti

0
Premiera GeForce RTX 3080 Ti zbliża się do nas coraz większymi krokami. Wskazują na to coraz liczniejsze przecieki oraz ten dzisiejszy ze specyfikacją rdzenia...
Predator Orion 9000

Predator Orion 9000 – ekstremalna wersja już w sprzedaży

0
Acer wprowadził do sprzedaży ekstremalną wersję swojego topowego komputera gamingowego Predator Orion 9000. Model ten przeznaczony jest z myślą o graczach, streamerach oraz montażu...